BTM70A/HCP4CDBB軸承
BTM70A/HCP4CDBB軸承(內徑:70 外徑:110厚度:36的雙向),BTM70A/HCP4CDBB軸承是蘇州凱諾永晟提供的SKF品牌軸承,
此外我公司還為您推薦各種國產、其他進口品牌替換BTM70A/HCP4CDBB軸承。公司承載著“以質量為本,服務為路線”的道路深得各機械行業(yè)公司的信任!
更多高轉速、高載荷等適用于極限環(huán)境的軸承庫存現貨,請致電“0512-57922999”咨詢!
| 雙向, 精密,高精度軸承, BTM .. A design, 30°, hybrid, preload B | |||||||||||
| 公差, 2344(00) 設計 , BTM 設計 | |||||||||||
| 推薦配合, shafts, housings | |||||||||||
| 軸和軸承座公差 | |||||||||||
|
|
|||||||||||
| 主要數據尺寸 | 基本負荷額定值 | 疲勞負荷限值 | 可達到的速度 | 體積 | 型號 | ||||||
| 動態(tài) | 靜態(tài) | 當潤滑與 | |||||||||
| 油脂 | 滴油潤滑 | ||||||||||
| d | D | H | C | C | C0 | Pu | |||||
|
|
|||||||||||
| mm | kN | kN | r/min | kg | - | ||||||
|
|
|||||||||||
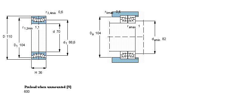
| 70 | 110 | 36 | - | 30 | 64 | 2,75 | 5300 | 7200 | 1,05 | BTM 70 A/HCP4CDBB | |
此軸承 樣本圖紙
同品牌推薦
軸承廣泛應用于:噴砂設備 打孔機 礦業(yè)金屬探測儀 耐磨泵 切帶機 豆制品加工設備 機床槽板 破碎設備 平版印刷機 羅蘭印刷機 法蘭盤 混煉機 林業(yè)機械 電解槽 油冷卻器 等領域。
